Categories:

Усадьба ДУБРОВКА (МАНСУРОВО), Калужская область, Малоярославецкий район

Усадьбой Мансурово владел сын Л.Н. Толстого - И.Л. Толстой. В усадьбе бывал А.С. Пушкин, якобы после посещения усадьбы поменявший фамилию главного героя повести «Дубровский» (первоначально фамилия героя была Островский). В советское время комплекс усадьбы использовался как школа-интернат для детей испанских коммунистов. В настоящее момент территория и сохранившиеся постройки имения Дубровка  переданы под юрисдикцию «Музея-усадьбы «Ясная поляна». Сохранился дом, флигели, ограда, парк и пруд.




усадьба Дубровка (Мансурово) 7 октября 2012 г.







Усадьба

ДУБРОВКА (МАНСУРОВО)






Мансуровы, Ланские, Чаплыгины,

Жихаревы, Ильины, Толстые





К А Л У Ж С К А Я о б л а с т ь ...

... р а й о н М А Л О Я Р О С Л А В Е Ц К И Й







Даже сейчас, когда усадьба полностью заброшена и не используется, она поражает своей особой красотой, о которой позаботился архитектор еще в конце XVIII века, когда выбирал место для постройки главного усадебного дома. А место, действительно, было выбрано исключительно точно.
усадьба Дубровка (Мансурово)
2. Парадные ворота.
 
Главный дом усадьбы расположен на высоком левом берегу речки Песочни и виден далеко со всех сторон. Особенно красиво он смотрится с правого берега, со стороны деревни Дурове. Дом кажется просто кораблем, парящим в облаках, преобладая над всем окружающим пейзажем. Это еще раз подчеркивает талант архитектора, точно выбравшего место для постройки дома.


усадьба Дубровка (Мансурово)
3. Вход запрещен. Но на самом деле препятствий не было.
 

Главный дом усадьбы расположен на высоком левом берегу речки Песочни и виден далеко со всех сторон. Особенно красиво он смотрится с правого берега, со стороны деревни Дурове. Дом кажется просто кораблем, парящим в облаках, преобладая над всем окружающим пейзажем. Это еще раз подчеркивает талант архитектора, точно выбравшего место для постройки дома.
усадьба Дубровка (Мансурово)
4. Элементы ограды.
 

Современный облик усадьба приняла в конце XVIII века.
усадьба Дубровка (Мансурово)
5. Главный дом.
 

С 1794 г. Ф.И. Мансуров вел строительство усадебного комплекса, состоящего из главного трехэтажного здания с колоннами и двух соединенных с главным зданием флигелей.
усадьба Дубровка (Мансурово)
6. Дворовый фасад дворца украшен ордерными композициями и большими полуциркульными окнами с мелкой расстекловкой.
 
Восточный флигель двухэтажный. Западный - одноэтажный. Главное здание и флигели формируют каре вокруг главного входа и центрального партера.
усадьба Дубровка (Мансурово)
7. Постройки парадной части (дом-дворец и два флигеля по его сторонам, 1 и 2-х этажные) охватывают курдонёр буквой П.
 

Из главного здания открывались прекрасные виды на окружающую природу, на поля и луга, окружающие усадьбу, на пруд, расположенный по оси симметрии главного дома усадьбы. Пруд был создан плотиной на реке.
усадьба Дубровка (Мансурово)

8. Если обогнуть ансамбль с любой стороны — попадаете в парковую зону.
 
Перед домом расположены парадные ворота и небольшой двор в котором были клумбы и цветники, придававшие особую парадность усадьбе, солнечные часы и прочие затеи.
усадьба Дубровка (Мансурово)
9. Мне кажется, это скульптура испанского пионера.
 

С противоположной стороны дома, как бы спрятанный от посторонних глаз расположен большой регулярный липовый парк. Сегодня парк уже разросся и практически превратился в лес.
усадьба Дубровка (Мансурово)
10. Дворец похож на главный дом в усадьбе Гребнево.
 

Однако еще просматриваются и аллеи и небольшой пруд с островком (пруд с островом не удалось найти), к которому был переброшен мостик.
усадьба Дубровка (Мансурово)
11. Коротка еловая аллея на входе в усадьбу. Здесь прослеживается место старого фонтана.
 

Мансуровы - древний и знатный дворянский род, известный со времен Ивана Калиты. Мансуровы ведут свою родословную от новокрещеного татарина Амедотея Шигильдеевича Мансурова, выехавшего из Орды между 1328 и 1340 годами и получившего при крещении имя Бориса.
усадьба Дубровка (Мансурово)
12. 1-этажный флигель.
 

Как и многие усадьбы в России, усадьба Дубровка поменяла многих хозяев, и каждый вносил свои определенные изменения в облик богатой усадьбы. В. Ланской владел усадьбой с 1817 года.
усадьба Дубровка (Мансурово)
13. 1-этажный флигель.
 
Позже хозяином стал Г.А. Чаплыгин. С 1820 года усадьба перешла к СИ. Жихареву, а затем к В.А. Ильину. От Ильиных в 1890 году усадьба переходит в качестве приданного сыну великого русского писателя Л.Н. Толстого - Илье Львовичу Толстому.


усадьба Дубровка (Мансурово)
14. Колодец.
 
И.Л. Толстой был последним именитым хозяином усадьбы и владел ею до 1918 года. В 1900 - 1901 годах в имении сына якобы бывал Л.Н. Толстой.
усадьба Дубровка (Мансурово)
15. Дом закрыт на замок.
 

Калужский краевед Н.М. Маслов полагал, что в усадьбе бывал и А.С. Пушкин, якобы после посещения усадьбы поменявший фамилию главного героя повести «Дубровский» (первоначально фамилия героя была Островский).
усадьба Дубровка (Мансурово)
16. Дом ветшает с каждым днем.
 

В 1919 году усадьба Дубровка была национализирована и частично разграблена. Оставшееся имущество было вывезено в Калугу и бесследно исчезло.
усадьба Дубровка (Мансурово)
17. Над дверью прослеживается отвалившаяся архитектурная форма.
 

В советское время комплекс усадьбы использовался как дом отдыха, школа-интернат для детей испанских коммунистов, пионерский лагерь, спецшкола для детей инвалидов.
усадьба Дубровка (Мансурово)
18. В XXв. комплекс использовался как однодневный дом отдыха, пионерлагерь, школа-интернат.
 
С начала 90-х годов ансамбль практически не используется и, находясь без присмотра, быстро разрушается.
усадьба Дубровка (Мансурово)

19. каждый владелец старался приспособить комплекс под свои нужды и архитектурную моду, внося в облик сооружений коррективы…Даже сейчас вносятся коррективы...
 
усадьба Дубровка (Мансурово)
20. Имение отстраивалось представителем старинного дворянского рода Ф.И. Мансуровым в 1754 г.
 

В настоящее момент территория и сохранившиеся постройки имения Дубровка  переданы под юрисдикцию «Музея-усадьбы «Ясная поляна». Новый филиал называется «Мансурово», хотя  до 1917г. и в настоящее время деревня официально называется Дубровка. Но первыми владельцами этой усадьбы были Мансуровы, и деревня называлась по их фамилии Мансурово. Так её чаще всего называли и Толстые.
усадьба Дубровка (Мансурово)
21. Ансамбль в стиле классицизм частично перестроен на рубеже XVIII—XIX вв.
 

Есть сведения, что восстановлением и обустройством старинной усадьбы займется праправнук писателя - Илья Толстой.В будущем в Дубровке будет открыта музейная экспозиция. Сейчас идет накопление научного материала. А  пока усадьба благополучно разрушается.... Зато в 300 м от нее успешно строится коттеджный поселок.
усадьба Дубровка (Мансурово)
22. Вид вниз в сторону реки Песочня.
 



усадьба Дубровка (Мансурово)
23. Во флигеле существует теперь сквозной проход.
 



усадьба Дубровка (Мансурово)
24. Парк, теперь лес.
 



усадьба Дубровка (Мансурово)
25. Парковый фасад главного дома.
 



усадьба Дубровка (Мансурово)
26. Хозяйственное строение.
 



усадьба Дубровка (Мансурово)
27. Липовый парк и качели.
 



усадьба Дубровка (Мансурово)
28. Парковый фасад дома переделан в духе романтизма, об этом говорят стрельчатые обрамления окон...
 



усадьба Дубровка (Мансурово)
29. Вид из парка.
 



усадьба Дубровка (Мансурово)
30. Столкновение самолетов над Дубровкой.
 



усадьба Дубровка (Мансурово)
31.
 



усадьба Дубровка (Мансурово)
32. Дорога в парке.
 


усадьба Дубровка (Мансурово)
33. Выход из усадебного парка в поле.
 


усадьба Дубровка (Мансурово)
34.
 


усадьба Дубровка (Мансурово)
35. Поле похоже на главную тему Windows XP.
 


усадьба Дубровка (Мансурово)
36. Вечерние тени.
 


усадьба Дубровка (Мансурово)
37. Стрельчатые окна.
 


усадьба Дубровка (Мансурово)
38. Сквозной проход в западном флигеле.
 


усадьба Дубровка (Мансурово)
39. Даже не верится, здесь скоро будет музей.
 


усадьба Дубровка (Мансурово)
40. Вниз к реке Песочня.
 


усадьба Дубровка (Мансурово)
41. Еще раз еловая аллея и главный дом.
 


усадьба Дубровка (Мансурово)
42. Развалины ограды.
 


усадьба Дубровка (Мансурово)
43. Старая аллея, спускающаяся вниз к реке.
 


усадьба Дубровка (Мансурово)
44. Неизвестное строение.
 


усадьба Дубровка (Мансурово)

45. Река Песочня.
 


усадьба Дубровка (Мансурово)
46. Старая аллея.
 


усадьба Дубровка (Мансурово)
47. Река Песочня.




Старые карты



усадьба Дубровка (Мансурово)
1790 год.
 
усадьба Дубровка (Мансурово)
1860 год.
 
усадьба Дубровка (Мансурово)
1878 год.
 

усадьба Дубровка (Мансурово)
2006год.
 
усадьба Дубровка (Мансурово)
2010 год.
 
усадьба Дубровка (Мансурово)
2010 год.
 
усадьба Дубровка (Мансурово)
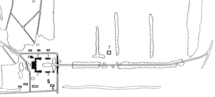
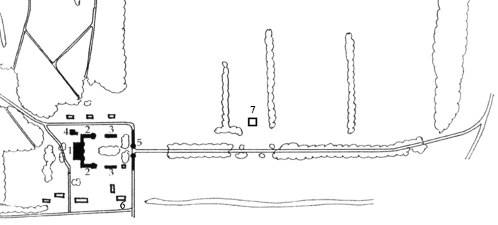
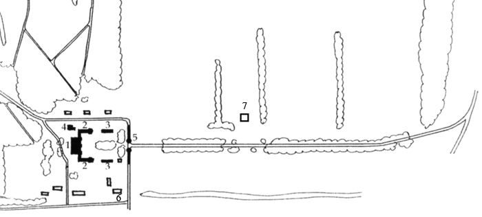
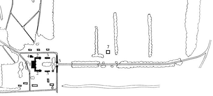
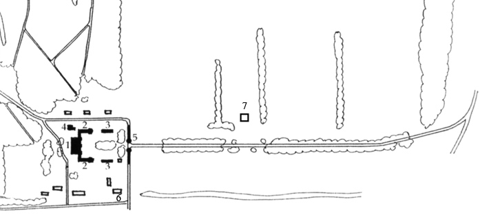
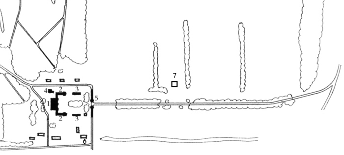
План усадьбы Дубровка.

1. Главный дом. 2. Флигели. 3. Одноэтажные флигели 4. Хозяйственное здание. 5. Парадные ворота
6. Хозяйственное строение. 7. Неизвестное здание.






Старые фотографии
 
усадьба Дубровка (Мансурово)
2004 год. Главный дом.





Ссылки на Panoramio и Google Earth
http://www.panoramio.com/user/3393283/tags/Дубровка



Ссылки

http://gorod.kaluga.ru/img/Usadby/dubrov.html
http://nataturka.ru/usadiba/dubrovka.html
http://imesta.ru/places/show/314/
http://hist-usadba.narod.ru/photo4-35-1.html
http://autotravel.ru/otklik.php/9805
http://bumrik.ru/index.php/dubrovka
http://urban3p.ru/object5346/
http://www.treefrog.ru/central-russia/item/85-usadba-dubrovka.html
http://www.geocaching.su/?pn=101&cid=8445
http://family-history.ru/material/news/news_585.html
http://slyadnevo.narod.ru/usadba2004.htm
http://alex-leonov.livejournal.com/21476.html
http://kaluga-apx.livejournal.com/7935.html
http://podmoskovye.livejournal.com/79854.html
http://autotravelru.livejournal.com/327301.html
http://sg-pepper.livejournal.com/12825.html
http://ru-abandoned.livejournal.com/1235606.html

Спасибо, есть что добавить?

promo vadimrazumov.ru февраль 20, 16:31 11
Buy for 100 tokens
Друзья, свершилось! Усадьба Быково будет жить! Сегодня за право стать владельцем достопримечательности на аукционе боролись пять участников. Согласно открытым данным, размещенным на сайте торгов, Быково купил Михаил Григорьевич Масловский. Он совершил финальную ставку в 270,5 млн. рублей, что в два…